2019年8月2日,哔哩哔哩弹幕视频网(以下简称B站)视频博主(以下简称up主)“敬汉卿”在该网站个人认证账号发布一条有关其账号ID被“镜湖区知桥电子产品销售部”注册为商标,并要求其改名的动态,引发网友关注。
事件经过
8月2日,B站用户“敬汉卿”发布消息称,他被一家公司告知,“敬汉卿”三个字已被该公司注册为商标,他本人无法再使用此名字作为平台账号名称,包括登陆自己的微信公众号也会收到侵权投诉。

B站用户“敬汉卿”维权动态截图网址:https://t.bilibili.com/283048772988393190
“镜湖区知桥电子产品销售部”在发给B站用户“敬汉卿”的所谓“维权通知书”中提到,该司为中国地区第31259902号“敬汉卿”注册商标持有人,商标核定使用类别为41类娱乐节目、视频制作和下载相关服务,并称B站用户“敬汉卿”在所运营的微信、腾讯、头条公众号“敬汉卿”侵犯到其注册商标专用权,违反《中华人民共和国商标法》第五十七条相关规定,要求B站用户“敬汉卿”整改更名,否则将委托律师发函要求各视频平台查封相关账号。

同日,由于该条动态,导致“镜湖区知桥电子产品销售部”名称相似的“浙江杭州知桥集团”被网友打电话骚扰,B站用户“敬汉卿”在其个人认证账号转发上条动态,解释并劝解网友认清事件责任人,不要给其他公司打骚扰电话及“诽谤”。

网址:https://t.bilibili.com/283048772988393190
2019年8月3日,B站用户“敬汉卿”在其个人认证账号发布一份“申明”。申明称,其与“镜湖区知桥电子产品销售部”的商标纠纷与其他名称带有“知桥”的公司无关,并对“杭州知桥电子商务有限公司”“浙江杭知桥律师事务所”道歉;其与“镜湖区知桥电子产品销售部”的商标纠纷将采用合理合法的适当途径进行处理,并请网友给其空间进行处理。

网址:https://t.bilibili.com/283388848501784556
2019年8月3日,B站用户“敬汉卿”在其个人认证账号发布视频《我被告知跟我22年的名字我不能用要我改名!我如何维权的!》。

《我被告知跟我22年的名字我不能用要我改名!我如何维权的!》
视频中提到“镜湖区知桥电子产品销售部”在后续的联系中称,该商标已经经转多次,并声称“你不懂就早点雇个律师,雇个好团队,别成天瞎玩,等做大了被平台老板玩进去了就亏到家了,这一天就不知道长点心呢!”

视频中B站用户“敬汉卿”多次请求网友“不要插手这件事情”“不要用违法去对抗违法”。


并且呼吁遇到类似情况的up主和他一样,拿起法律的武器进行维权。

事情真的像B站用户“敬汉卿”所描述的那样是“恶意注册”吗?
在由B站用户“敬汉卿”所公布的“镜湖区知桥电子产品销售部”发给他的“维权邮件”中,商标注册证见下图,该注册证明确注明核定使用商品/服务项目分类为“第41类”广播和电视节目制作、新闻记者服务、提供在线录像(非下载)、通过视频点播服务提供不可以下载的电视节目、娱乐信息、提供在线电子出版物(非下载)、组织教育或娱乐竞赛、安排和组织会议、教育、培训(截止)。注册日期为2019年2月28日,有效期至2029年2月27日。

2019年2月28日之前,B站用户“敬汉卿”又是怎样的情况呢?
在上述提到的视频中,B站用户“敬汉卿”称“敬汉卿”是其本名而不是其艺名,并在视频中晒出其身份证。

根据一款第三方数据软件我们得知,该用户在2019年2月28日,在哔哩哔哩弹幕视频网的总粉丝量为190.8万。

该用户最早上传的视频时间为2015年9月24日。

而就在这个视频中,就已经有@敬汉卿 的水印存在。

而根据其本人说法,2014年开始制作并上传视频,2016年全网有100万网友关注,2017年全网300万网友关注,2018年全网900万粉丝关注。

事件引发网友关注
该事件发生之后,引发B站网友的热烈讨论,哔哩哔哩官方账号@哔哩哔哩UP主执事 更是在B站用户“敬汉卿”视频下方留言表示支持。
相关法律类up主更是制作视频提出建议。


“镜湖区知桥电子产品销售部”是何许人也?
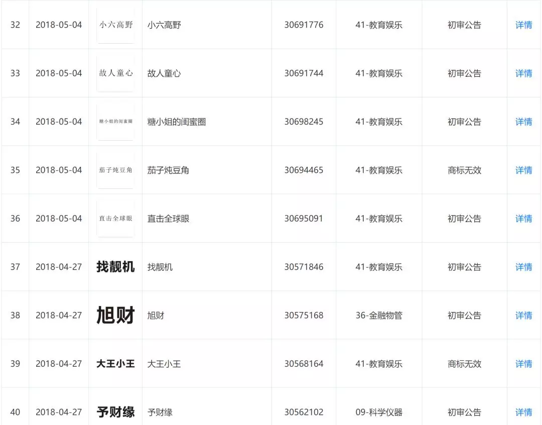
根据天眼查的信息显示,该公司成立于2017年8月29日,注册资金20元,经营范围为电子产品批发零售。

该公司拥有知识产权商标共103个,除“敬汉卿”外,“魔哒蒂斯”“火星方阵”“农村四哥”“找靓机”等名称与某些网络自媒体账号“同名”的商标也在申请过程中。


点击“敬汉卿”商标后我们可以看到,该商标申请注册时间为2018年5月29日。

只有“敬汉卿”遇到这样的事了吗?
我们对部分自媒体人进行了采访,发现这类事件其实不少。
B站up主、古筝乐手@玉面小嫣然 就遇到了下面这个情况。一位自称是“玉面小嫣然”的商标所有人称,他不想让不是@玉面小嫣然 的其他人用,如果需要,@玉面小嫣然 可以不用花钱,授权使用该商标。

而@玉面小嫣然 并不认识这个人。 下面这家公司则对手作达人@手工耿 这个名字情有独钟。



经向自媒体人@手工耿 本人询问,他自己并不知道这回事儿。
而除了这两位,其他的著名自媒体账号的名字同名的商标也被某些公司集中申请。

哇!这么巧……
团中央权益部“青少年12355”法律专家:此次事件属于恶意抢注商标行为
团中央权益部“青少年12355”法律专家、北京致诚公益律师事务所律师姚艳姣
本案中,B站up主“敬汉卿”商标抢注事件,也属于恶意抢注商标的行为。
《中华人民共和国商标法》第三十二条规定:
申请商标注册不得损害他人现有的在先权利,也不得以不正当手段抢先注册他人已经使用并有一定影响的商标。《中华人民共和国民法总则》第一百一十条规定,自然人享有生命权、身体权、健康权、姓名权、肖像权、名誉权、荣誉权、隐私权、婚姻自主权等权利。“敬汉卿”为有一定网络影响力的B站up主的真实姓名,公司的商标抢注行为侵犯了敬汉卿的姓名权。
《中华人民共和国商标法》第四十五条规定:
已经注册的商标,违反本法第十三条第二款和第三款、第十五条、第十六条第一款、第三十条、第三十一条、第三十二条规定的,自商标注册之日起五年内,在先权利人或者利害关系人可以请求商标评审委员会宣告该注册商标无效。根据第四十七条,依照本法第四十四条、第四十五条的规定宣告无效的注册商标,由商标局予以公告,该注册商标专用权视为自始即不存在。因商标注册人的恶意给他人造成的损失,应当给予赔偿。
在本案中,我们鼓励B站up主敬汉卿拿起法律武器,依法维权,可以请求商标评审委员会宣告该注册商标无效。如果因商标注册人的恶意给其造成损失的,还可以依法主张损害赔偿。
根据国家工商总局相关负责人意见,目前,我国市场上出现了大量违反诚实信用原则、恶意攀附他人商标声誉、抢注知名度较高商标、侵犯他人在先权利、占有公共资源、反复抢注等商标恶意抢注的行为。希望B站up主敬汉卿的依法维权行为,能在一定程度上普及知识产权的法律知识,引导公众合理合法保护和使用知识产权。
来源:微信公众号“共青团中央”(ID:gqtzy2014 作者:B站up主@祚挂东南枝,团中央权益部“青少年12355”法律专家、北京致诚公益律师事务所律师姚艳姣)

