


我国将系统规制商标恶意抢注
据我国商标法第四条规定:“自然人、法人或者其他组织在生产经营活动中,对其商品或者服务需要取得商标专用权的,应当向商标局申请商标注册。不以使用为目的的恶意商标注册申请,应当予以驳回。”
第六十八条还规定:“对恶意申请商标注册的,根据情节给予警告、罚款等行政处罚;对恶意提起商标诉讼的,由人民法院依法给予处罚。”
最近,国家知识产权局就商标法修订草案公开征求意见。在国家知识产权局今年2月22日举行的例行新闻发布会上,国家知识产权局条法司一级巡视员吕志华介绍,商标法将明确商标恶意注册申请情形及应负法律责任,引入商标强制移转和公益诉讼制度,系统规制商标恶意抢注。
据经济日报报道,商标法是我国改革开放后颁布的第一部知识产权专门法律,已经经过四次修改。随着我国经济进入新发展阶段,商标领域公共利益平衡不够、专有权利保护不足、商标使用不充分,以及规制恶意抢注、权利滥用和恶意诉讼不足等新情况逐渐显现,迫切需要通过进行全面修法予以系统性解决。
因此,此次征求意见稿在进一步维护社会公平正义和公平竞争市场秩序方面作了大量调整,例如规定禁止权利滥用原则,增加恶意诉讼反赔制度,明确商标权利行使边界。加强商标领域诚信体系建设,打击虚构、隐瞒重要事实和提供虚假材料等行为。
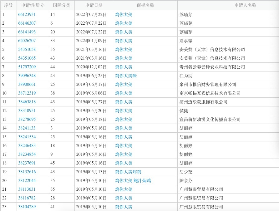
人民热评:“鸡你太美”是恶俗烂梗
3月7日,“人民热评:鸡你太美是恶俗烂梗”的相关话题登上微博热搜。“鸡你太美”“老师,报giao”“你这个老六”……据报道,小孩子学到的网络烂梗越来越多。为此有人提出,要共建共治,家长多陪伴、学校多引导、平台多负责,一起把青少年的网络环境搞好。

很多网络烂梗,都让人一头雾水:这种梗怎么就莫名其妙地流行了起来?而真正了解了这些梗的背景,就很容易发现,它们不仅烂,还散发恶臭气息。还有一些网络表达,已经涉嫌侮辱他人了,比如“贝儿这个绿茶,哪有本公主漂亮?”此外,诸如“想你的腿,亲你的嘴”之类的言语,也让人不敢恭维。
网络时代,出现网言网语很正常。但是,网言网语不等于奇言怪语,也不等于胡言乱语,更不等于污言秽语。试问那些一脸油腻的短视频主播,你们会把乱七八糟的梗,说给自家孩子听吗?
其实,玩梗需要智慧,比如有时得会抖机灵,有时得会说金句,有时还需要有创新。但我们发现,一些网络烂梗,之所以烂,就在于它们太无趣、太无聊、太恶俗,跟创意挨不上边。比如,“你这个老六”,让人看到的只有庸俗。
需要厘清的是,那些网络烂梗何以流行?青少年脱口而出,挂在嘴边,他们究竟是从哪些鬼畜游戏、恶俗直播里学到的?有网友感慨:“现在的孩子确实被网络荼毒太厉害了。”应该说,污染孩子的不是网络,而是一些主播;带坏孩子表达的不是网言网语,而是那些臭不可闻的烂梗。
有一种观点是,存在的就是合理的,无需担心网络烂梗对孩子的影响,随着时间流逝,那些烂梗终会退出网络的。这一观点似是而非,网络烂梗让人担忧,是因为它们侵袭了孩子的精神世界,乃至传递了不良的价值取向。因此,不能对此轻描淡写,任其泛滥。
应看到,对待网言网语我们秉承更开放的心态,要反对烂梗,反对乌烟瘴气的网络表达。我们欢迎那些充满机趣、活泼生动的网言网语,但对恶俗烂梗、污秽表达必须坚决说不。
何以消除那些网络烂梗?如何净化它们孳生的土壤?惟有大家共同努力,让网络环境更清朗,让青少年的用网环境更健康。
央视网:小孩爱说的烂梗越来越多了,是错觉么?
此外,据央视网微博报道,“鸡你太美”“你这个老6”满嘴“三俗网梗”;拿起手机停不下,放下手机就发火;打游戏“CPDD”比解二元一次方程还熟练;“海王”“雌竞”张嘴就来……网络对青少年的干扰“罄竹难书”。
但出生在5G时代,不可能简单粗暴把孩子们的网线掐了,而是要共建共治,家长多陪伴、学校多引导、平台多负责,一起把青少年的网络环境维护好。

每日经济新闻综合人民热评、央视网、极目新闻、九派新闻
每日经济新闻
