长江日报记者2月12日通过国家知识产权局商标局主办的中国商标网查询发现,有人成功注册了11个“谷爱凌”商标。这涉嫌恶意抢注,北京汉德律师事务所于11日已将相关材料邮寄给国家知识产权局商标局,请求提出无效宣告。

参加北京冬奥会的谷爱凌。新华社发
2003年9月3日出生的谷爱凌(Ailing Eileen GU)是北京冬奥会中国代表团中的一名自由式滑雪运动员。2月8日,谷爱凌在冬奥会自由式滑雪女子大跳台决赛中夺得冠军,她后面还将参加冬奥会自由式滑雪女子U型场地技巧和自由式滑雪女子坡面障碍技巧的比赛。

中国商标网查询截图。
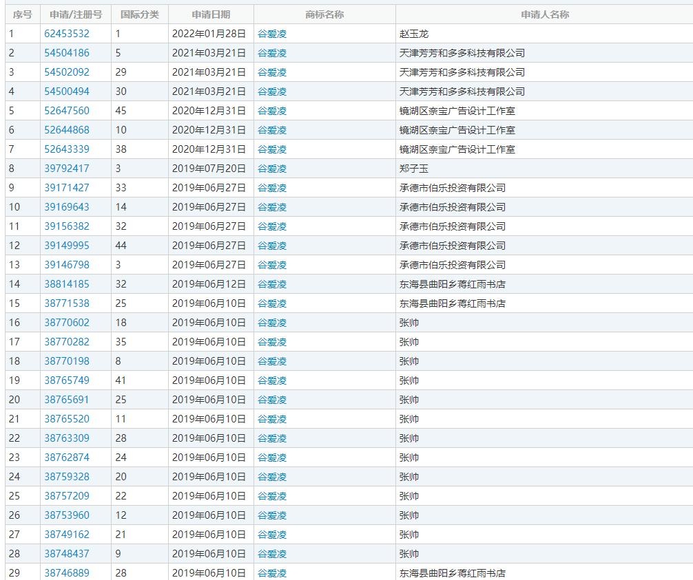
记者在中国商标网上输入“谷爱凌”进行查询,显示截至2022年2月7日“谷爱凌”商标名称有29件。其中,吉林省敦化市的张帅通过吉林省友道知识产权代理有限公司申请的13个“谷爱凌”商标中的11个已经注册成功。其他的“谷爱凌”商标或被驳回或等待实质审查。
张帅已注册成功的11个“谷爱凌”商标涉及广告销售、教育娱乐、手工器械、皮革皮具、布料床单、手动的手工具等多个类别,这些商标的专用权期限多集中在2020年2月7日至2030年2月6日。

张帅申请的其中一个“谷爱凌”商标。
记者注意到,张帅申请“谷爱凌”商标的时间均为2019年6月10日。巧合的是,这与谷爱凌宣布参加北京2022年冬奥会仅相隔3天。2019年6月7日,谷爱凌在社交平台宣布自己很骄傲能够在3年后代表中国征战北京2022年冬奥会。
对于张帅为何能成功申请“谷爱凌”商标,吉林省友道知识产权代理有限公司一名工作人员解释:手续是合理合法的,申请提交后很顺利地批下来了,本身不太关注体育,“这次冬奥会才知道谷爱凌到底是谁”。
湖北得伟君尚(湖北自贸区武汉片区)律师事务所副主任曹剑刚认为,该商标申请人一次性申请注册多个“谷爱凌”商标,有恶意抢注商标的嫌疑。《中华人民共和国商标法》规定:“不以使用为目的的恶意商标注册申请,应当予以驳回。”
在《注册商标无效宣告申请书》中,北京汉德律师事务所对国家知识产权局商标局于2019年6月10日公告注册的张帅在第18类上第38770602号“谷爱凌”商标提出无效宣告申请,事实与理由如下:谷爱凌除了是滑雪运动员名字,没有其他语言含义,商标申请人的行为侵犯了谷爱凌的姓名权;申请时间点是在谷爱凌成名、媒体报道之后,是一种十分明显的恶意抢注商标的行为;申请注册商标的范围包括13个类别,已在11个类别获得商标权,这是对商标的恶意囤积行为;容易造成社会混淆,使公众误认为与谷爱凌存在实际联系。
一位不愿公开姓名的专家认为,判定该商标申请人是否属于恶意抢注,既要看谷爱凌是否提出异议,也要看该商标申请人的申请注册意愿。
北京盈科(武汉)律师事务所万亚南律师介绍,对于已经注册成功的商标,提出异议的个人或单位可以根据《中华人民共和国商标法》向商标评审委员会申请宣告注册商标无效,或者由商标局自行纠正,宣告有关注册商标无效。
(长江日报记者李玉莹)
【编辑:张玲】
更多精彩内容,请在各大应用市场下载“大武汉”客户端。
